© Greenstick Enerygy Limited 2019                                                                               website design by Geoffrey Miller : www.flamboroughmanor.co.uk

Coastal Defences - Erosion

Water and wind pose a constant threat to coastlines around the world.  A typical example of devastating coastal erosion can be seen along the East Yorkshire coast of England where sections of the cliff top have, quite literally, fallen into the sea.  Spurn Point is rapidly disappearing as the sea continues to batter the fragile coastline and soon, will be completely cut off from the mainland unless radical protective action is taken save it.
In practice, a number of methods are used for passive protection of the coast from erosion.   Traditional methods include a curved sea wall  with the addition of concrete accropodes or by rock armour or boulder barriers, all of which are expensive and visually unattractive. Greenstick Wall Technology could offer a quicker, less invasive and ecologically and environmentally beneficial solution.
Coastal erosion, East Yorkshire Coast, England
Traditional coastal protection in progress  and the  resultant curved sea wall & accropodes at Scarborough, East Yorkshire,  England
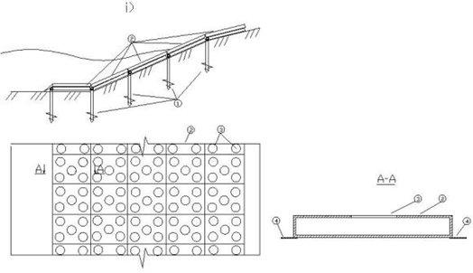
1. Screw pile 2. Empty box with holes which dissipate waves 3. Holes 4. Substrate (flexible plate for sealed seams)
The Greenstick Wall method of protecting a coastline would be to build an embankment using an array of Greensticks incorporating sealed units with holes to dissipate waves.  Once the membrane had been laid, the Greensticks would be deployed vertically, the sealed units inserted and held in place via such as a keyway, the locking sleeve unlocked and the units lowered into place. The new Greenstick embankment or sea wall would eliminate the need to transport tons of hard materials to site, reduce the volume of heavy equipment required to move the rocks to build a revetment and is likely to be less expensive than  traditional methods. 
Creating a coastal defence embankment or sea wall

Greenstick Groynes      Faster - Cheaper - Stronger

Greenstick sea wall : 1. Wave reflector (FRP or concrete) 2. Concrete plate 3. Panel/plate (FRP or reinforced concrete) 4. Concrete mats/carpet 5. Soil filled by bulldozer from the shore or sea 6. Greenstick pile
Compared to the traditional methods shown below, Greenstick Groynes cost less to install are faster to install are stronger
Beach reclamation
Please left click the screen above to play or right click for further options, including Full Screen (“Esc” to cancel)
Please left click the screen above to play or right click for further options, including Full Screen (“Esc” to cancel)